Eltryckeslås EL482-29 komplett

ABLOY

Abloy Art.nr: 10198523 Lev.art.nr: 359216107011
10198523
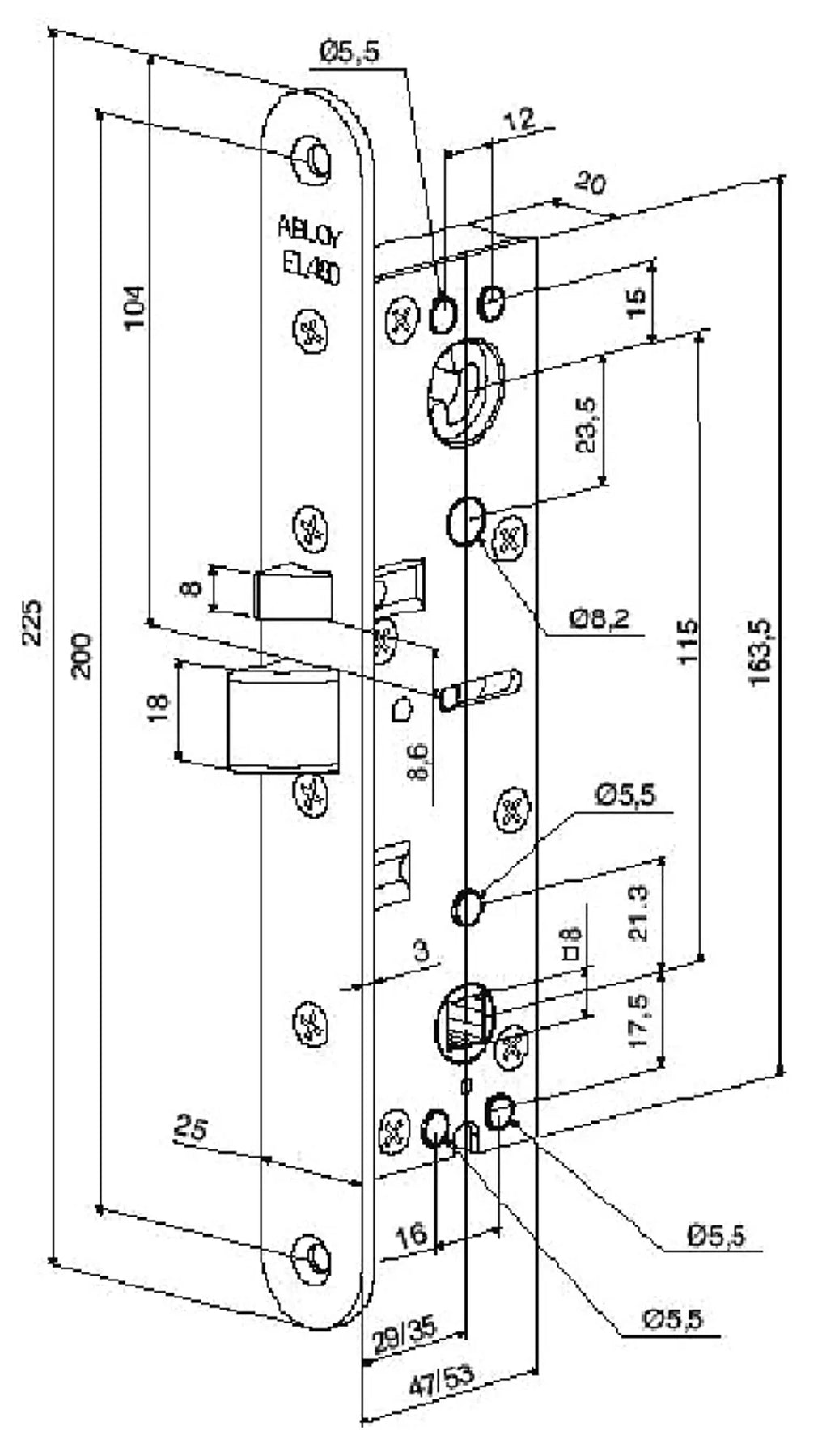
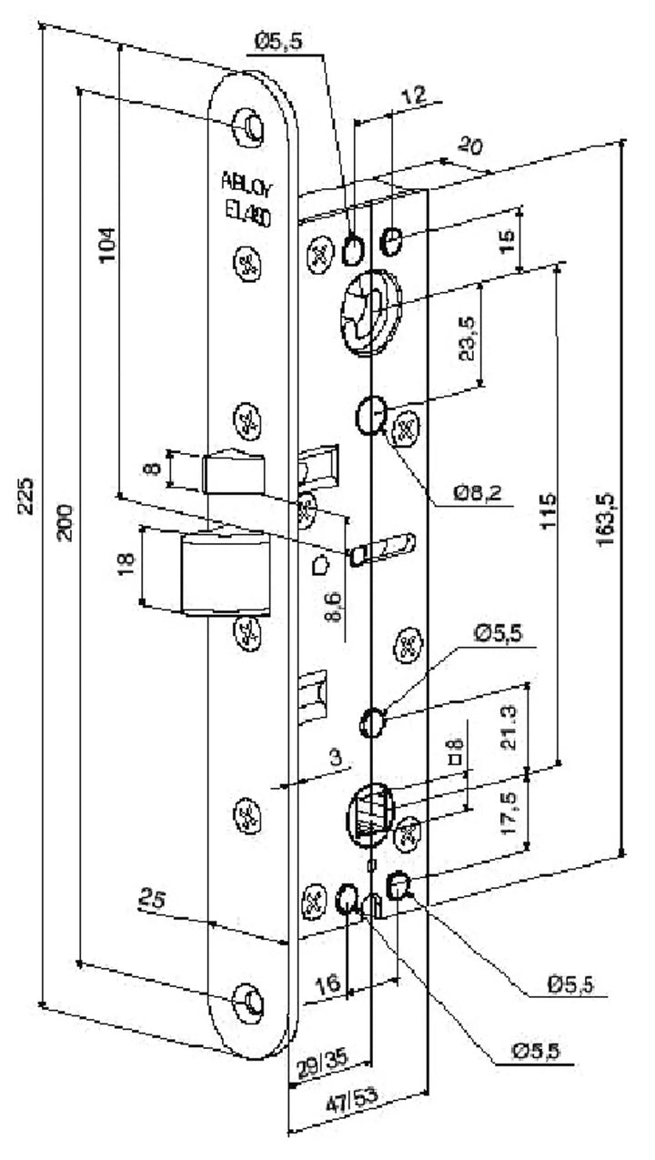
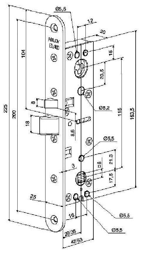
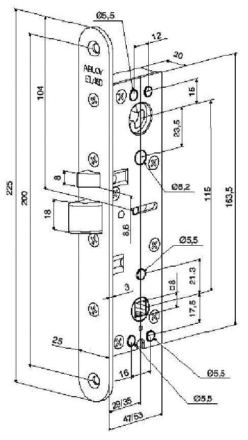
EL480 & 482 eltryckeslås måttskiss

Eltryckeslås EL482-29 komplett

ABLOY

Abloy Art.nr: 10198523 Lev.art.nr: 359216107011
Eltryckeslås med förreglad tryckesfall som är anpassade för högfrekventa dörrar i smalprofilutförande. Passar bra som daglåsning och intern låsning inom handel, kontor och industri eller i entréer och allmänna utrymmen i flerfamiljshus. Låsen kan användas i brandcellsgräns.

  • Förreglad tryckesfall.
  • Låset kan alltid manövreras med cylinder / vred. 
  • Multifunktionellt.                                                                                                  
  • 12-24VDC, stab.
  • Enkelt omställbart rättvänd / omvänd funktion.
Två mikrobrytare                                                                                                                                                                                                                                                                         
  • Förregling (dörrläge).
  • Tryckesrörelse 29 eller 35 mm dorndjup.
  • Alla kablar försedda med kontakter för enkel installation med anslutningskabel EA220.
  • Låsen är fullständigt anpassat till ASSA urtagsstandard.
Funktion:
EL482 Enkel funktion:
- Ut- och insidans trycke är elektriskt manövrerat.

Teknisk data:
• Strömförbrukning Max. 350 mA, Vila 120 mAv
• Mikrobrytare Enpoligt växlande. Max 30V DC, 400 mA

Komplett sats: Eltryckeslås, tryckespinnar för splitfunktionslås (EL480), anslutningskabel EA220 och karmöverföring EA281.

Ytbehandling: Blankkrom

Senaste besökta produkter