Kantregel Step 21 Automatisk

STEP Art.nr: 10170005 Lev.art.nr:
10170005
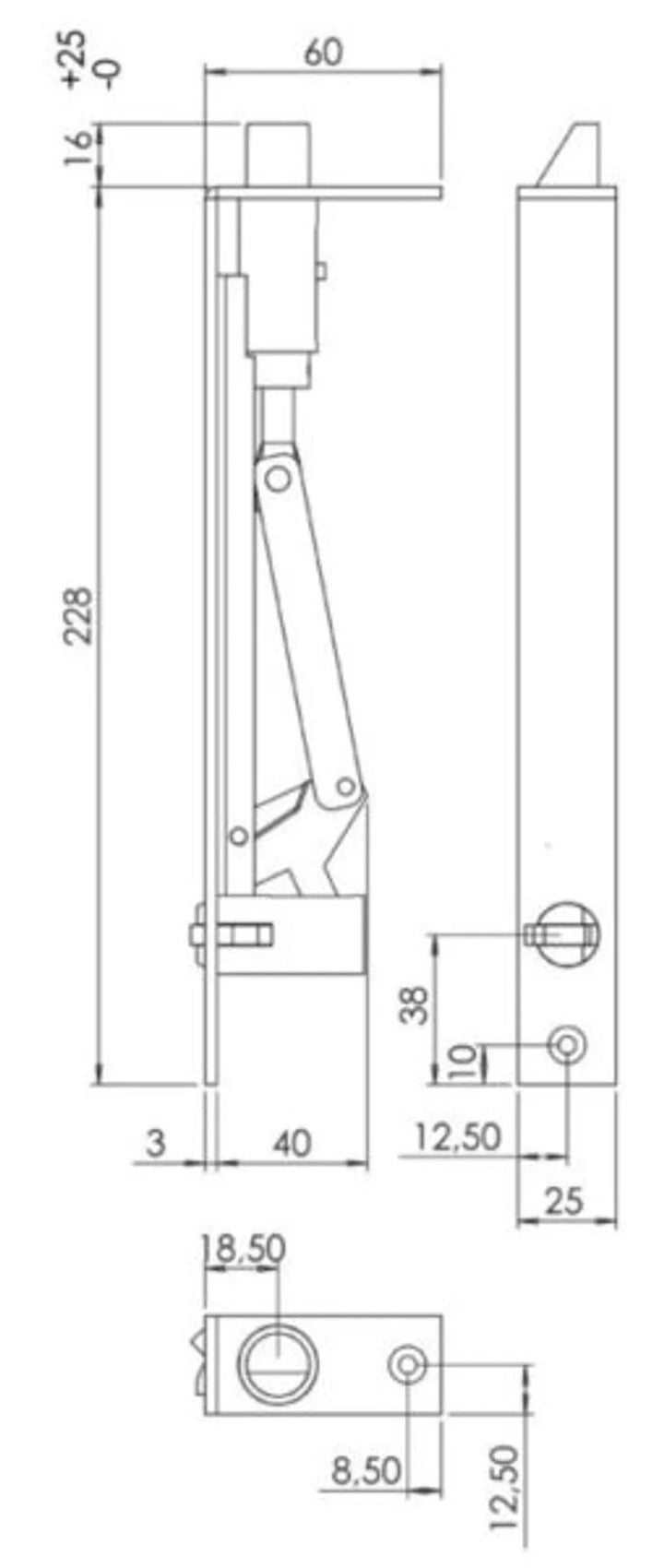
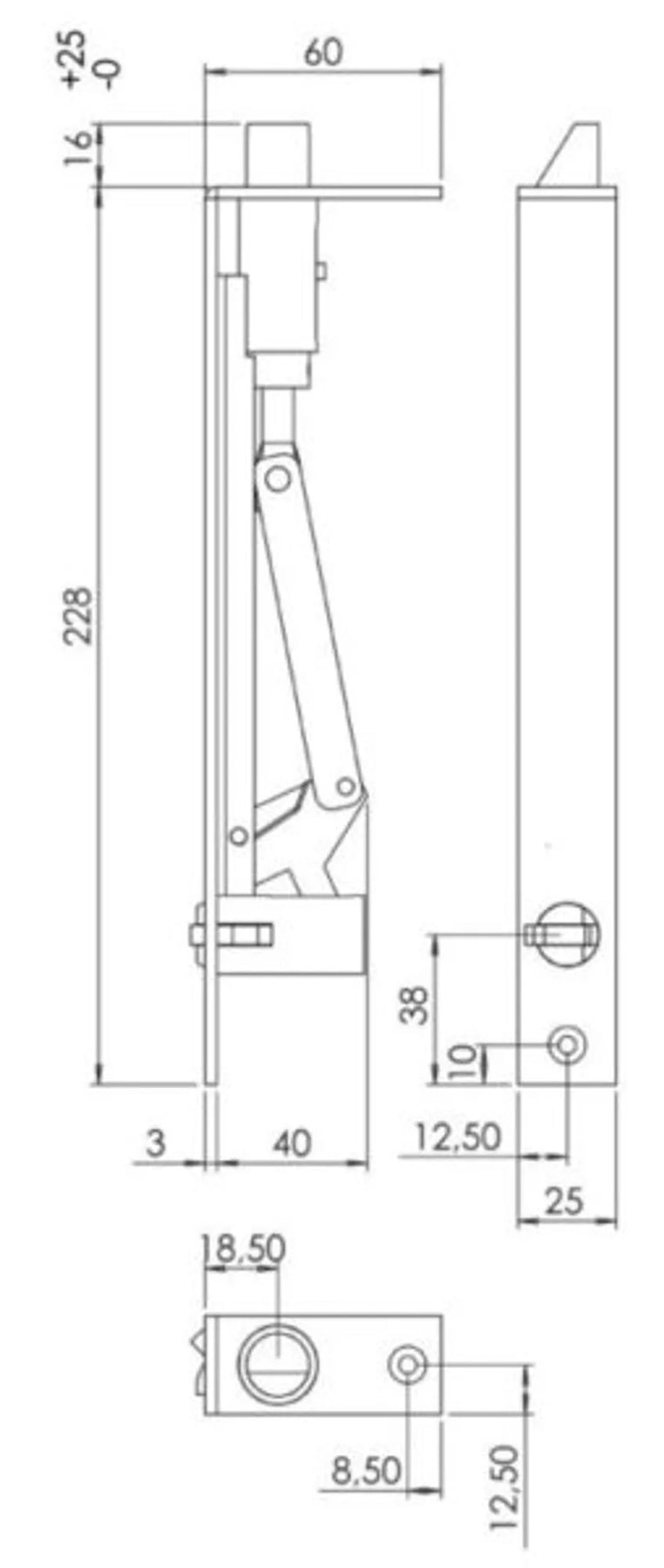
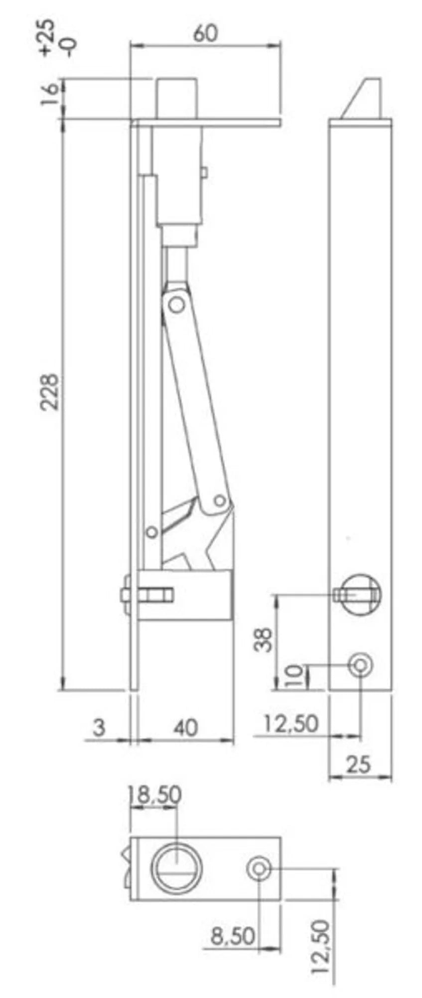
Måttskiss Step 21

Kantregel Step 21 Automatisk

STEP Art.nr: 10170005 Lev.art.nr:

Automatisk kantregel för det passiva dörrbladet i pardörrar i trä, stål eller aluminium. Kan öppnas trots högt listtryck.
Konstruktionen medger även en säker stängning och låsning. Kantregeln frilägger alltid det passiva dörrbladet då det
aktiva dörrbladet öppnas. 


Kantregeln är konstruerad för att motstå de krafter som kan komma att uppstå vid inbrottsförsök
eller brand med rökgasexplosioner.


Teknisk information:

  • Material av stål för brandklassade dörrar.
  • Regelkolv 16 mm.
  • Regelkolvens utlåsning är 16 mm.
  • Regelkolven är justerbar + 25 mm.
  • Garanterar öppning trots listtryck (gäller ej art.nr STEP 21DH, STEP 21DV).

Slutbleck och glidbleck medföljer.

Ytbehandling: Förzinkad

Senaste besökta produkter