Låshus 4249 gul Abloy

Abloy Art.nr: 10198430 Lev.art.nr:
10198430
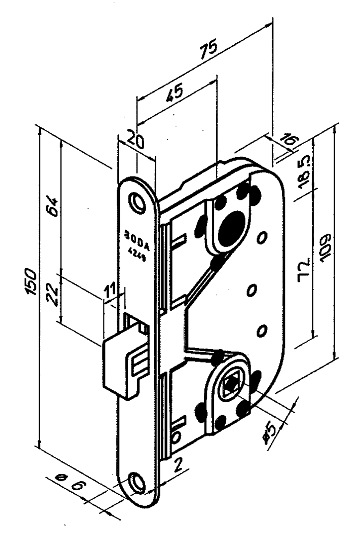
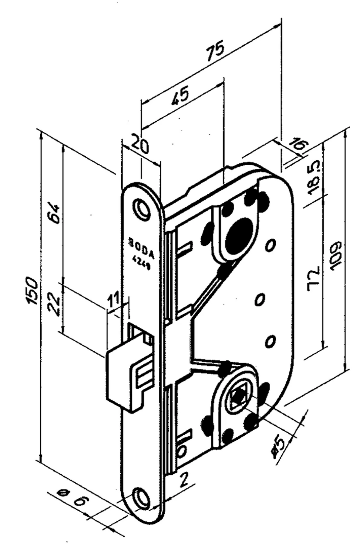
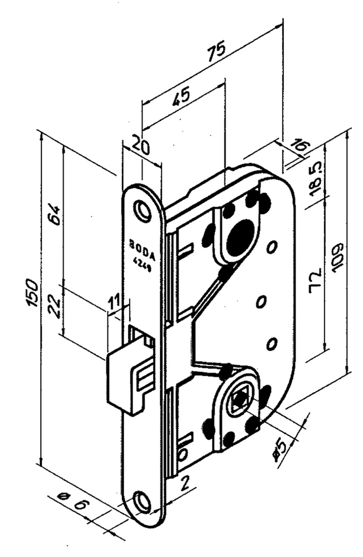
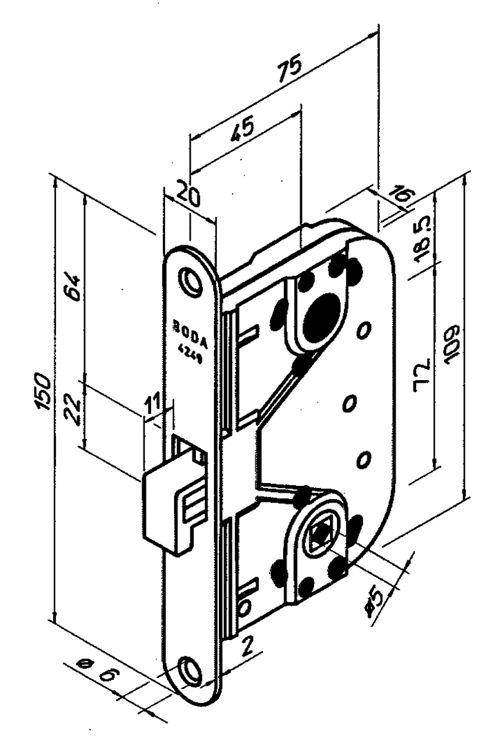
4249 innerdörrlås måttskiss

Låshus 4249 gul Abloy

Abloy Art.nr: 10198430 Lev.art.nr:
Låshus 4249 är ett hakregellås som används till olika typer av lätta skjutdörrar såsom dragspelsdörrar, vikdörrar, badrums- och toalettdörrar både i privatbostäder och kontorslokaler. 

  • Dorndjup 45 mm.
  • Reglas med nyckel eller WC-behör LH0341.
  • Låset har urtagsmått enligt Svensk Standard SS 81 73 82. 
Låset levereras med: Nyckel och slutbleck 4662.

Ytbehandling: Gulförzinkad

Senaste besökta produkter