Låshus 4249 Z med bleck + nyckel

Abloy

Abloy Art.nr: 10198445 Lev.art.nr:
10198445
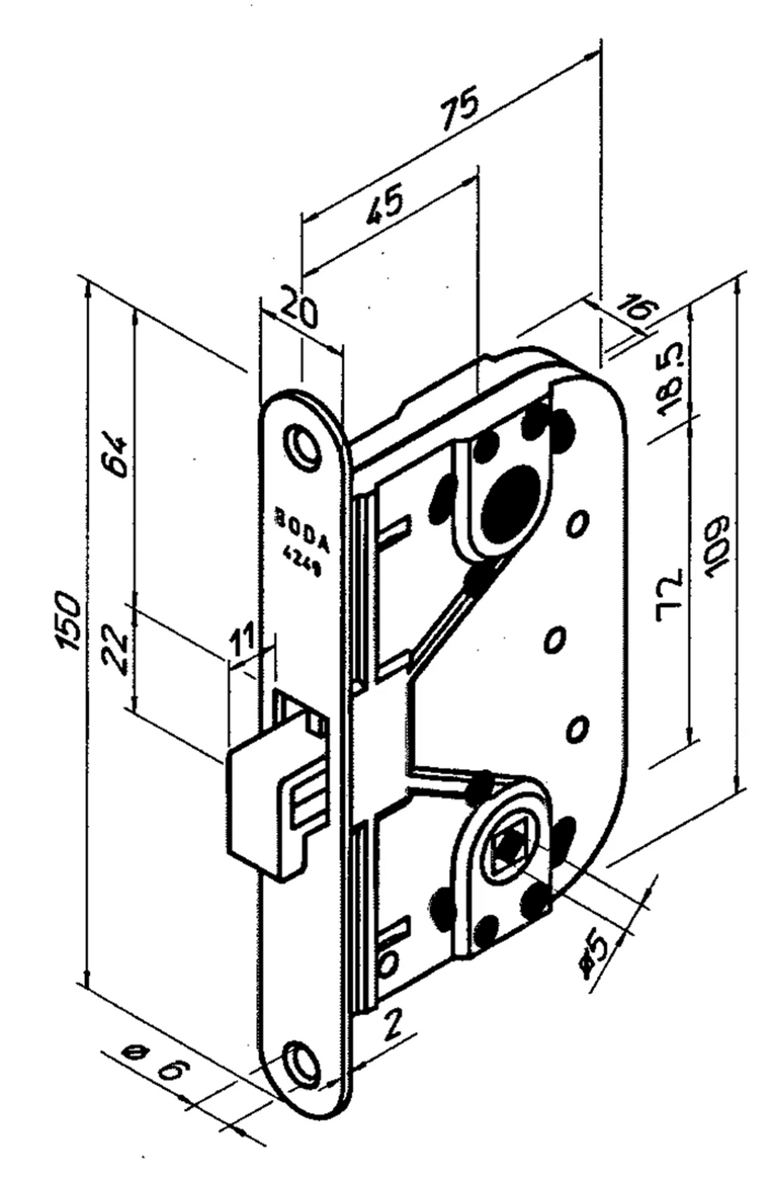
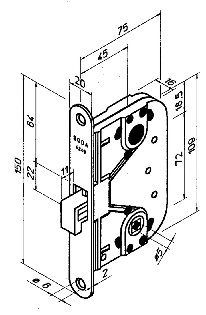
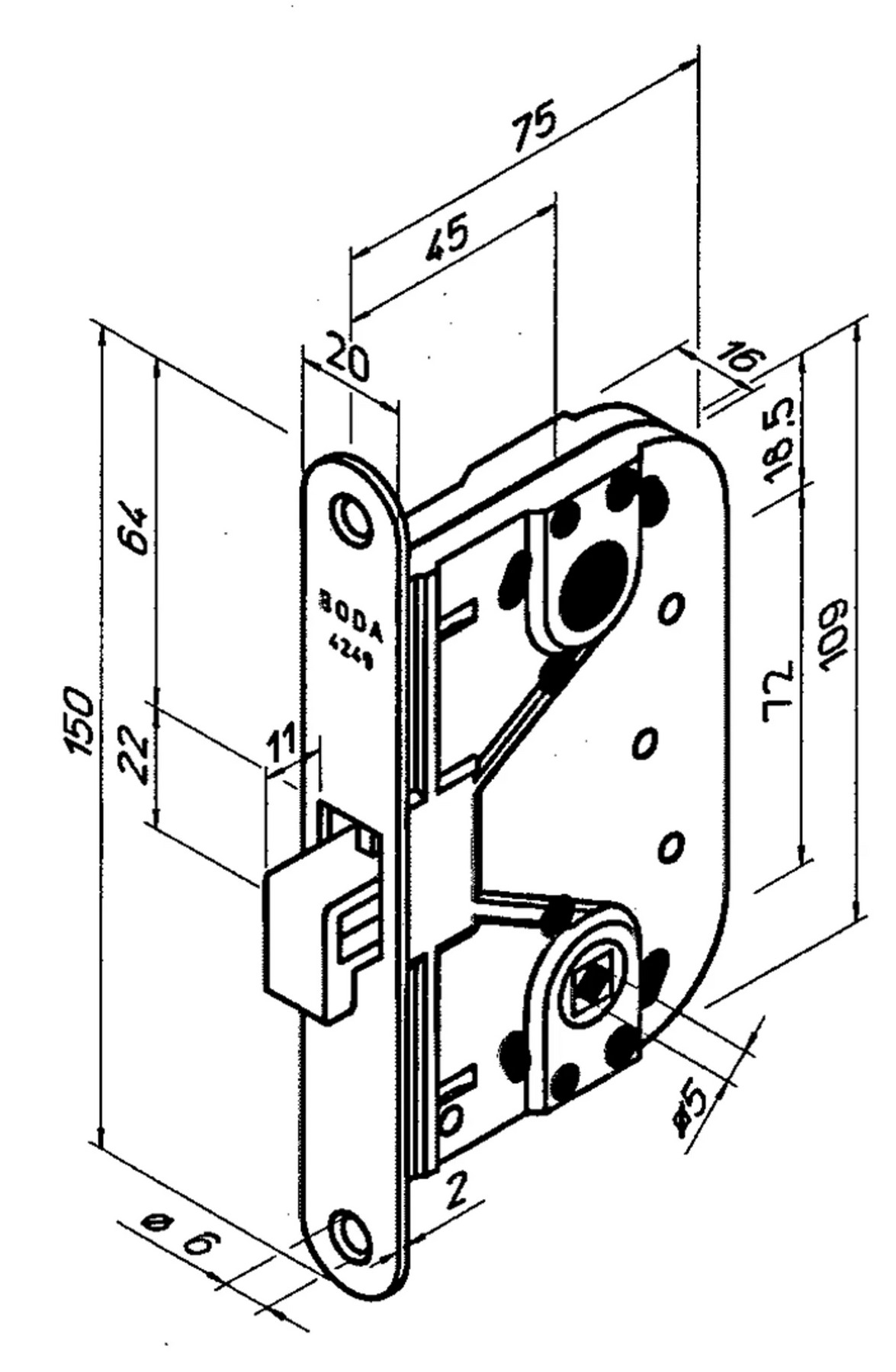
4249 innerdörrlås måttskiss

Låshus 4249 Z med bleck + nyckel

Abloy

Abloy Art.nr: 10198445 Lev.art.nr:
Låshus 4249 är ett hakregellås som används till olika typer av lätta skjutdörrar såsom dragspelsdörrar, vikdörrar, badrums- och toalettdörrar både i privatbostäder och kontorslokaler. Låset har dorndjup 45 mm och reglas med nyckel eller WC-behör LH0341.

Låset har urtagsmått enligt Svensk Standard SS 81 73 82. Låset levereras med nyckel och slutbleck 4662 i 40-pack.

Ytbehandling: Förzinkad

Senaste besökta produkter