Motorlås PE590 med ansl.kabel

ABLOY panikutrymningsmotorlås

Abloy Art.nr: 10198588 Lev.art.nr: PE5901127011
10198588
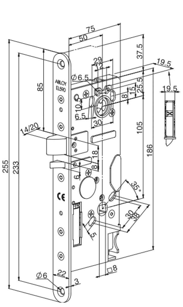
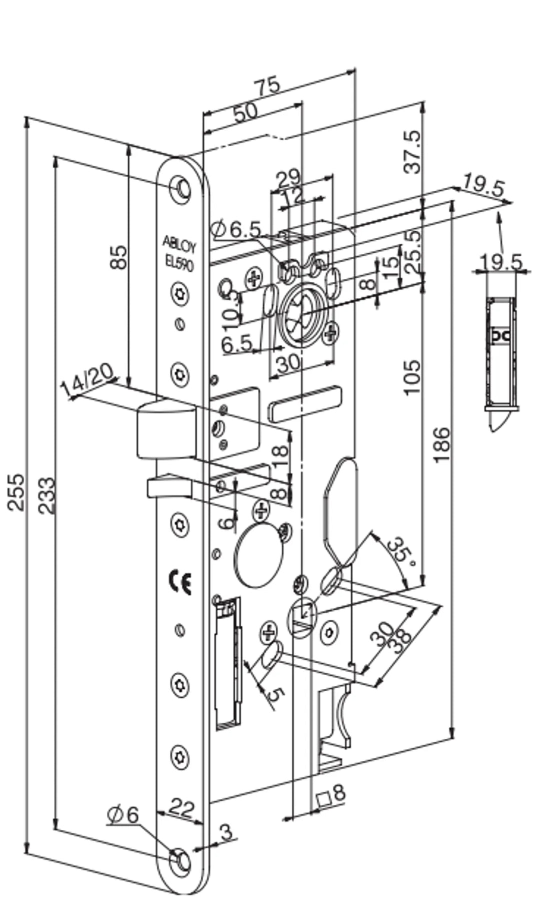
Måttskiss PE590

Motorlås PE590 med ansl.kabel

ABLOY panikutrymningsmotorlås

Abloy Art.nr: 10198588 Lev.art.nr: PE5901127011
Ett utrymningsmotorlås med fallkolv. Det innebär en unik möjlighet att kombinera krav på tillgänglighet, brandskydd och utrymning. För användning i pardörr med utrymningskrav enligt SS-EN 1125.

  • Dorndjup 50mm.
  • CC-mått 105 mm, samma som Connect- och Classicserien men har avvikande höjdmått.
Funktion:
  • Fallkolven drivs till olåst av den inbygga motorn. 
  • Låset har inbyggd styrenhet och förutsätter permanent kraftförsörjning till låshuset.
  • Olåst tiden är ställbar från 1-20 sekunder. Justering sker från låshusets stolpe.
  • Låsnig sker automatiskt/mekaniskt oberoende av elkraft vilket säkerställer användning i dörrar i brandcell. 
  • PE590 har en fallkolv med springförregling vilket gör att den låser ut till 20 mm. 
  • Om motorlåset används i brandcellsgräns skall fallkolven ställas i 14 mm läge. 
  • Öppning styrs genom att minus (-) skickas till kontrolledning för regeln.
  • Vid leverans är låset inställt så att utrymningsbeslaget alltid är inkopplat. Detta är en förutsättning för SS-EN 1125. 
  • I samband med installation går det att ställa om låshuset så att det är möjligt att koppla ur utrymningsfunktionen. Detta sker genom att minus (-) skickas till kontrolledning. Vid spänningsbortfall kopplas utrymningsfunktionen in automatiskt. I detta läge omfattas låset INTE av SS-EN 1125. 
Används tillsammans med anslutningskabel EA227 och panikregel 1142.

Motorlåset har följande indikeringar:
• Regel förreglad
• Tryckesavkänning
• Cylinderavkänning (finns som tillbehör)

Teknisk data:

• Spänning 12 - 24V DC (-10% / +15%, stab)
• Strömförbrukning 12V DC - Normal (50 N listtryck): 600 mA. Max 1700 mA
Minst (viloläge): 50 mA
24V DC - Normal (50 N listtryck): 250 mA. Max 700 mA
Minst (viloläge): 25 mA
• Temperaturområde -20°C till +60°C, 20-90% relativ luftfuktighet, ej kondenserande
• Mikrobrytare Max 30V AC/DC 100 mA resistiv last, 3W

Ytbehandling: Blank krom

Senaste besökta produkter