Nödutrymningsbeslag 179A N Hö

42-90 mm ASSA

Assa Abloy Art.nr: 30173146 Lev.art.nr: 815516101002
30173146
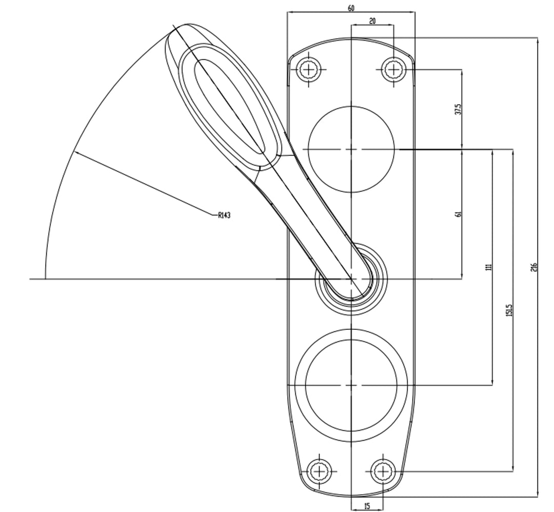
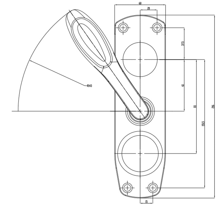
Måttskiss 179A

Nödutrymningsbeslag 179A N Hö

42-90 mm ASSA

Assa Abloy Art.nr: 30173146 Lev.art.nr: 815516101002
Nödutrymningsbeslag 179A i nickel är avsett för utåtgående slagdörrar i utrymningsvägar. 179A passar tillsammans med låshus 710, 721, 722 med 50 eller 70 mm dorndjup. Låset öppnas med ett handgrepp, vilket ger en säker utrymning. 

Egenskaper: 
  • Nödutrymningsbeslag ASSA ABLOY 179A är certifierat enligt SS-EN 179. 
  • Monteras tillsammans med låshus 710, 721, 722 eller 727 dorndjup 50/70 mm. 
  • Låshuset kan erhållas med mikrobrytare. 
  • För dörrar med B/C-mått mindre 25 mm rekommenderas minst en 4 mm distansskylt 179. 
  • Finns i många olika ytbehandlingar: Prion, nickel, mch, krom, svart. 
Funktion: 
  • Dörren kan alltid öppnas från insidan via utrymningshandtaget. 
  • Vid val av låshus 710 eller 727 är återinrymning möjlig via utsidans trycke efter utförd utrymning. 
  • Låshus 721-50, 722-50 och 727-50 kan användas med elslutbleck ur ASSAs 900-serie. 
  • Behörig passage med nyckel är möjlig från både in- och utsida utan att larmindikeringen påverkas. 
  • Utrymningshandtaget kan plomberas med sigilltråd. 

Ytbehandling: Förnicklad

Senaste besökta produkter